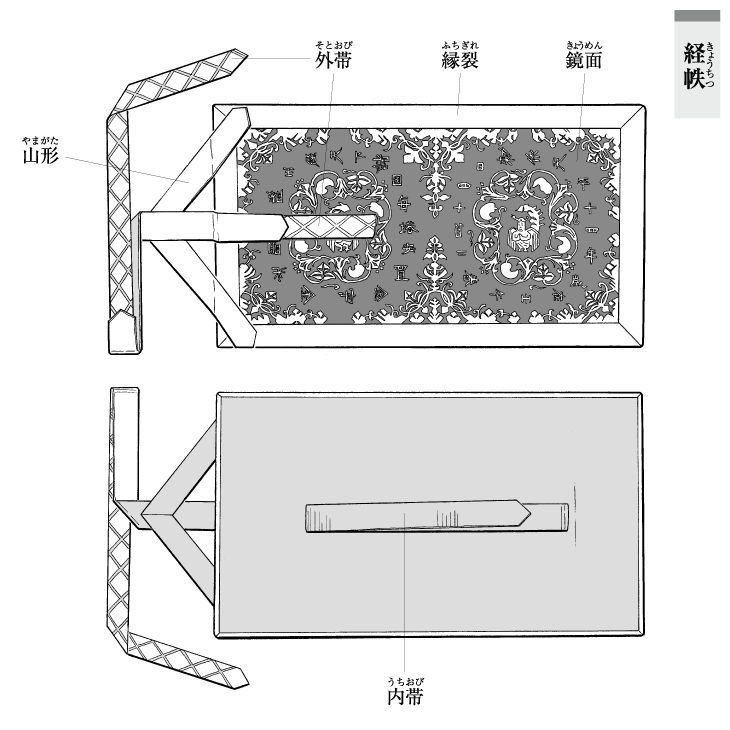
経帙(きょうちつ)kyōchitsu
経巻を納める入れ物のこと。
第52回 正倉院展、2000年
Sutra wrapper
Rectangular mats in which a number of sutra scrolls were rolled up together for storage. The mats were either woven out of slats of bamboo held together with elegantly twined designs and edged with beautiful fabric, or made of thick paper and given a paper edging. Attached cords were wound around the rolled-up wrapper.
74th Annual Exhibition of Shōsō-in Treasures, 2022


